- В видеоигры играет «почти каждый второй... (182)
- МТС улучшит покрытие LTE в Москве за счёт... (213)
- Belgee забрал треть рынка: как один бренд... (166)
- В России представили сверхнадежный планшет... (180)
- 7000 мАч, 60 Вт, карты памяти, 50 Мп, 120 Гц... (172)
- МТС запустил ИИ-сервис «Безопасный интернет»... (224)
- «Яндекс Маркет» запустил для сервиса Ultima... (327)
- Миллион человек уже онлайн. Второе место в... (398)
- Илон Маск и инвесторы обсуждают объединение... (216)
- «Руки не держат, ноги дрожат»: атмосферный... (303)
- Роботакси Tesla попадают в ДТП в девять раз... (220)
- Слепые должны обрести зрение: Neuralink... (230)
- Илон Маск о потенциальном смартфоне SpaceX:... (505)
- SpaceX представила Stargaze — систему,... (344)
- Чтобы не отвлекаться на чтение субтитров:... (342)
- Илон Маск: Grok Imagine теперь генерирует... (492)
В Apple придумали прикреплять перо к планшету магнитами
Дата: 2016-09-29 17:43
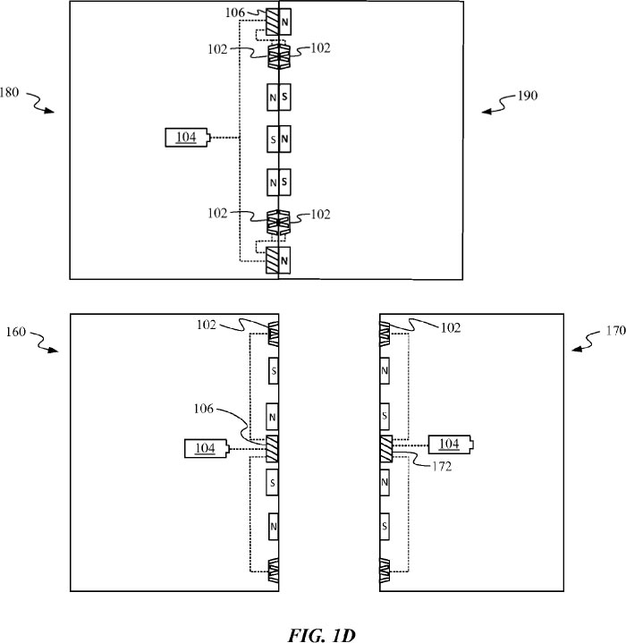
В базе данных патентного бюро США появилась заявка на патент №20160284497, поданная Apple в марте прошлого года. В ней описан «динамически стабилизированный магнитный массив». Массив включает постоянные магниты и электромагниты. По сути, он представляет собой крепление, в котором постоянные магниты удерживают компоненты вместе, а электромагниты включаются для выравнивания и чтобы сохранить соединение при определенных условиях.
По замыслу изобретателей, магнитами, например, можно прикреплять к планшету перо.
Или соединять между собой два планшета.
Напомним, Apple уже принадлежит патент на соединение двух электронных устройств магнитным креплением. В частности, в нем описано соединение двух планшетов, при котором один из них играет роль сенсорной клавиатуры.
Источник: USPTO
КомментироватьПодробнее на iXBT
Предыдущие новости
Анонс GeForce GTX 1080 Ti ожидается на выставке CES 2017
Игорная столица Западного полушария, город Лас-Вегас, станет местом официального анонса мощной видеокарты GeForce GTX 1080 Ti в январе следующего года. В этом уверены журналисты китайского портала ZOL.com.cn, время от времени радующего публику утечками данных о тех или иных новинках. По мнению азиатских коллег, NVIDIA представит первый исключительно игровой (TITAN X не в...
APU A10-9700 протестирован в составе десктопа HP Pavilion
Гибридные процессоры AMD Bristol Ridge пока доступны для приобретения лишь в составе систем в сборе, использующих платформу AM4. Некоторых энтузиастов это не останавливает, и благодаря им мы уже, в частности, имеем представление о производительности и разгонном потенциале APU A12-9800. Помимо данной модели, вышеупомянутое семейство включает в себя пять четырёхъядерных и...
Фото и характеристики CPU-кулера MSI Core Frozr L
В середине августа на выставке Gamescom 2016 в Кёльне компания MSI продемонстрировала прототипы систем охлаждения Core Frozr XL и Core Frozr L. Они предназначались не для графических процессоров, как можно было ожидать, а для центральных, и были выполнены в фирменном стиле MSI Gaming. Спустя некоторое время Micro-Star без особой огласки добавила одну из упомянутых моделей...
Абонентам «МегаФона» в Калининграде стали доступны суперскорости мобильного интернета
Компания «МегаФон» начала коммерческую эксплуатацию сети LTE Advanced в Калининграде. В ряде районов города, где уже внедрена новая технология, обладатели устройств с поддержкой технологии LTE Advanced могут пользоваться мобильным интернетом на скорости до 200 мегабит...