- «Волга» ГАЗ-31105 с пробегом в 500 км за 1,1... (146)
- Получилось ли у Microsoft ускорить... (193)
- В Китае построят крупнейшее в мире хранилище... (194)
- Чтобы лучше реагировать на требования Apple.... (232)
- Первый в мире частный научный спутник... (221)
- Samsung представила «Воскресший» внешний... (306)
- У «Яндекса» сломалась «Алиса» — ИИ-помощник... (241)
- OpenAI нужны будут сотни миллиардов долларов... (250)
- Телескоп Fermi обнаружил возможные следы... (289)
- Одна новая видеокарта с 48 ГБ памяти и две... (292)
- С этой компании когда-то началась эпоха... (258)
- Главы технологических компаний наперебой... (328)
- «Мы просто поражены приёмом»: авторы... (286)
- В 2027 году Intel может наладить выпуск... (524)
- Роскомнадзор увидел в Roblox угрозу детям —... (296)
- Samsung выпустила внешние SSD T7 Resurrected... (359)
Apple запатентовала складной смартфон с гибким экраном
Дата: 2018-10-19 12:01
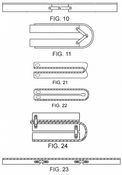
Патентное бюро США выдало компании Apple патент №10104787, заявка на который была подана 20 сентября 2016 года. В патенте описаны «Устройства с гибким дисплеем». Суть изобретения хорошо видна на иллюстрациях.
По мнению изобретателей, электронные устройства могут иметь корпуса из нескольких частей на шарнирном соединении. В патенте перечислены всевозможные варианты этих шарниров, включая «шарниры на основе гибких конструкций». Поверх сочленения может быть размещен гибкий дисплей. Когда части корпуса поворачиваются относительно друг друга, гибкий дисплей изгибается. В сложенном состоянии он может оказываться внутри или снаружи.
Шарниры могут быть снабжены фиксаторами, чтобы удерживать гибкий дисплей в выбранном положении.
Кроме того, вместо шарнирного механизма могут использоваться магниты, крепежные элементы с крючками и петлями, выступы и прорези или другие структуры.
КомментироватьПодробнее на iXBT
Предыдущие новости
Рынок роботов замедлил рост из-за торговой войны
Эскалация торговой войны между Соединенными Штатами и Китаем ослабила желание производителей инвестировать в оборудование, что привело к замедлению роста на рынке промышленных роботов, сообщил глава Международной федерации робототехники (International Federation of Robotics, IFR) Дзюндзи Цуда (Junji Tsuda). REUTERS/Aly...
Intel отказывается от совместного производства памяти 3D XPoint с Micron
В 2006 году компания Intel вышла на новый для себя рынок — производство и поставки памяти NAND. Не имея собственного производства NAND, она обратилась за помощью к компании Micron, с которой создала СП IM Flash Technologies. Прошли годы, на рынке NAND Intel встала на ноги и больше не нуждается в услугах Micron и совместного предприятия. Пришла пора уйти в одиночное...
SteelSeries Rival 310 CS:GO Howl Edition: мышь для поклонников шутеров
Компания SteelSeries анонсировала мышь игрового класса Rival 310 CS:GO Howl Edition (Counter-Strike: Global Offensive), адресованную прежде всего поклонникам шутеров от первого лица (FPS). Новинка имеет оригинальное исполнение. Предусмотрена многоцветная RGB-подсветка с двумя зонами с возможностью независимой настройки. Манипулятор подходит пользователям, предпочитающим...
Смартфон Huawei nova 3i с двумя двойными камерами выходит в России
Компания Huawei сообщила о том, что до конца октября на российском рынке начнутся продажи смартфона среднего уровня nova 3i, который был рассекречен минувшим летом. Аппарат оборудован экраном FullView с диагональю 6,3 дюйма. Применена панель с разрешением 2340 × 1080 точек и соотношением сторон 19,5:9. Заявлен 85-процентный охват цветового пространства...