- Объём менее литра, дизайн старой приставки,... (202)
- Чем пожертвовали в новом MacBook Neo ради... (209)
- Ubisoft наконец подтвердила Assassin’s Creed... (178)
- Nvidia готовит новую версию GeForce RTX 5050... (194)
- В России впервые использовали цифровой... (246)
- «Это просто нереально!»: Mundfish... (322)
- Xiaomi будет делать новый процессор каждый... (349)
- Московский суд оштрафовал разработчика... (233)
- В США 600 долларов, а сколько в России?... (386)
- Apple представила ноутбук MacBook Neo за... (343)
- M**a обучает ИИ на видео с очков Ray-Ban, в... (298)
- Ghost of Yotei и Saros не выйдут на ПК —... (278)
- Очень дешевый MacBook вышел вслед за самым... (371)
- «Яндекс» научил «Алису» управлять смартфоном... (369)
- Caviar представила эксклюзивные Galaxy S26... (442)
- Конкурент Tank 500 и Land Cruiser. Марка... (367)
Странный смартфон Samsung с двумя экранами можно физически разделить на две части
Дата: 2019-01-07 14:21
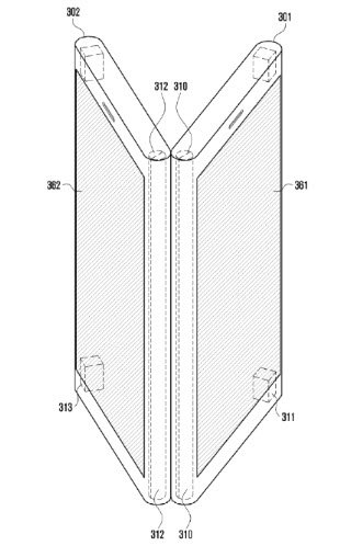
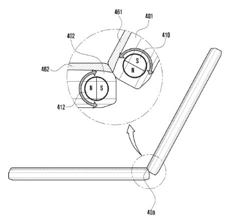
Южнокорейская компания Samsung запатентовала еще одно устройство, которое можно отнести к новому классу смартфонов или планшетов со сгибающимися экранами.
Особенностью устройства является то, что оно состоит из двух частей, которые соединяются между собой при помощи магнитов. По сути у пользователя на руках могут оказаться две похожие половины с экранами.
Каким образом это можно реализовать, пока что сказать очень сложно. Также интересно, как производитель планирует размещать аппаратную начинку в корпусах этого гибридного устройства, чтобы не увеличивать его стоимость и при этом обеспечить возможность его нормального функционирования.
Всемирная организация интеллектуальной собственности (World Intellectual Property Office, WIPO) приняло от Samsung соответствующую заявку на «Электронное устройство, состоящее из двух устройств, оснащенных экранами» еще в июне прошлого года, но информация об этом появилась только сейчас.
В соединенном состоянии два экрана могут работать вместе как один единый дисплей или отображать разный контент по желанию пользователя.
Понятно, что о сроках выхода этого фантастического устройства говорить пока не приходится. Для начала Samsung должна подтвердить факт его разработки.
КомментироватьПодробнее на iXBT
Предыдущие новости
Компания Apple не участвует в CES 2019, но это не помешало ей использовать выставку
Исторически компания Apple не принимает участие в выставках CES, предпочитая устраивать собственные мероприятия с анонсом новых устройств и выступлением генерального директора. Не стала исключением и выставка CES 2019. Однако это не значит, что Apple игнорирует столь крупное отраслевое мероприятие. Почему бы не использовать его для продвижения собственной марки? В этом году...
MSI представила пять моделей видеокарт GeForce RTX 2060, три из них – с заводским разгоном
Официальный анонс Nvidia GeForce RTX 2060 случился несколько часов тому назад, а сейчас с партнеров компании сняты эмбарго на анонсы своих вариантов видеокарты. У Gigabyte таких моделей оказалось шесть, и о них мы уже рассказали. А в этой новости речь пройдет про варианты RTX 2060, подготовленные MSI. Эта тайваньская компания представила всего на одну модель меньше: пять...
Asus ROG Mothership — необычный игровой моноблок с GeForce RTX 2080 и шестиядерным CPU Intel
Компания Asus привезла на CES 2019 также и весьма любопытное устройство под названием ROG Mothership (GZ700). И нет, это не модель космического корабля, как могли бы подумать любители фантастики. Сама Asus никак не называет новинку, указывая лишь, что это «революционное» переосмысление игрового ноутбука, призванного выступить заменой настольному ПК. Если же всё это не...
Следующий смартфон OnePlus будет использовать флэш-память UFS 3.0
Компания OnePlus может стать первой, кто начнёт использовать флэш-память UFS 3.0 в своих смартфонах. Инсайдер Ice universe опубликовал скриншот, демонстрирующий скорость передачи данных накопителя некоего нового смартфона OnePlus. Будет ли это модель OnePlus 7 или же пока безымянная модель с 5G, неясно. UFS3.0 Crazzzzzy! pic.twitter.com/q7l3deeFH4 — Ice universe...