- Это уникальный ноутбук с дискретным NPU... (185)
- Земной мох девять месяцев провёл в открытом... (96)
- С борта МКС сняли кометы Lemmon и SWAN на... (188)
- Индия на пути к своей многоразовой ракете, в... (175)
- Ракета Falcon 9 вывела на орбиту очередную... (95)
- 16-дюймовый экран, 12-ядерный APU AMD и... (99)
- Слежка без камер: Apple создала ИИ, который... (169)
- Жидкая вода на Марсе под сомнением: анализ... (100)
- Правительство США инициировало операцию... (169)
- Платформа Snapdragon X Elite оказалась... (259)
- «Росатом» начал печатать детали для реактора... (244)
- В Google начала показывать рекламу в «Режиме... (166)
- Российские ученые впервые разрушили... (181)
- Американский стартап Valar Atomics впервые... (375)
- Самый быстрый суперкомпьютер в мире El... (377)
- IBM и Cisco объединяют усилия для создания... (160)
Microsoft возобновила работу над сгибающимся смартфоном Surface Phone
Дата: 2019-03-30 09:42
Складное устройство Microsoft, которое различные источники называли Project Andromeda и Surface Phone, находится в разработке довольно давно. Летом прошлого года появилась информация о том, что проект Andromeda может быть отменен, а вместо него Microsoft может выпустить очередной ноутбук с поддержкой приложений Win32.
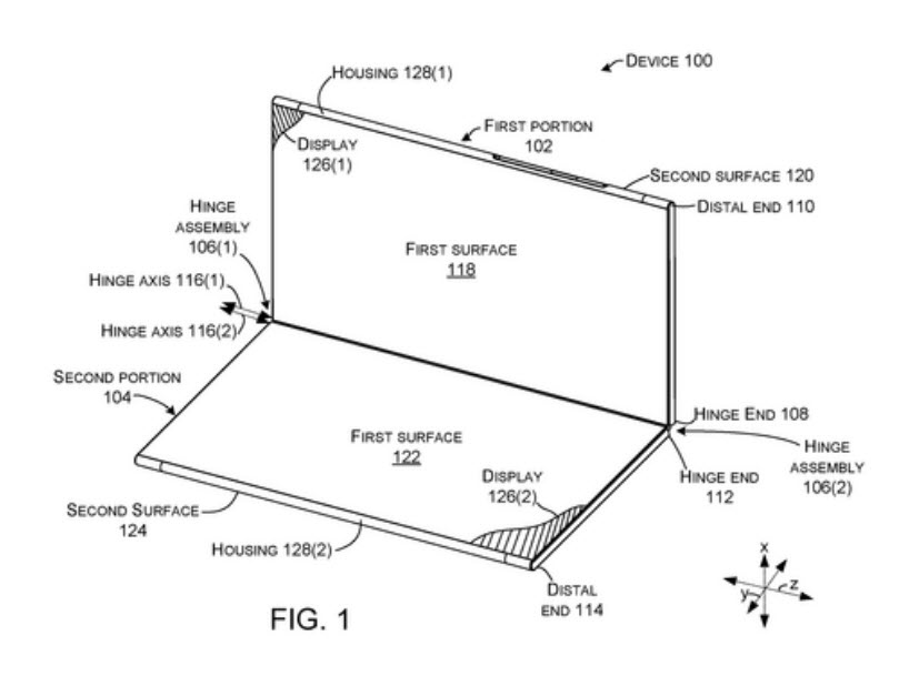
Затем обозреватель Пол Тарот (Paul Thurrott), ссылаясь на проверенных информаторов в Microsoft, заявил, что проект точно не отменен. Теперь же у нас появились изображения шарнирного механизма, который будет использоваться в устройстве. Соответствующий документ был опубликован Всемирной организацией интеллектуальной собственности (WIPO).
Данный шарнирный механизм позволит использовать Surface Phone как ноутбук в альбомной ориентации. Один дисплей сверху будет выступать в роли экрана, а нижний экран будет использоваться как виртуальная клавиатура QWERTY.
Шарнир также предусматривает открытие на 360 градусов. На одной из картинок показано, как пользователь может слегка приоткрыть устройство, чтобы увидеть уведомления и напоминания.
Ранее технический обозреватель Брэд Сэмс (Brad Sams) заявил, что Microsoft выпустит это устройство ближе к концу этого года, однако оно будет больше, чем показывали предыдущие рендеры, и, возможно, не будет карманным.
КомментироватьПодробнее на iXBT
Предыдущие новости
Первые результаты тестов флагманского смартфона Meizu 16s
базе данных популярного тестового пакета Geekbench появились несколько записей о флагманском смартфоне компании Meizu, который будет представлен под названием Meizu 16s уже совсем скоро. Устройство оснащено популярной однокристальной системой Qualcomm Sapdragon 855, а также 6 ГБ оперативной памяти. Из коробки смартфон будет работать под управлением операционной системы...
Apple отказалась от выпуска беспроводной зарядки AirPower
Компания Apple решила отказаться от планов выпускать беспроводное зарядное устройство AirPower. Об этом телеканалу CNN сообщил старший вице-президент по разработке аппаратного обеспечения Apple Дэн Риччио. По его словам, продукт не удалось довести до...
Стоимость iPhone X в России упала ниже психологической отметки
В начале продаж на российском рынке iPhone X был представлен по цене от восьмидесяти тысяч рублей. Как сообщают СМИ со ссылкой на портал Hi-Tech Mail.ru, в 2019 году стоимость смартфона значительно снизилась, достигнув психологической...
Google Photos упрощает работу с фотографиями чеков и документов
Google Photos, популярный сервис обмена и хранения фотографий, созданный Google, получил небольшое, но важное обновление для пользователей устройств, работающих под управлением операционной системы Android. До этого момента если вы хотели, чтобы фотографии квитанции, чека или документа выглядели красиво, вам необходимо было обрезать и разворачивать их самостоятельно. Теперь...