- В Китае повысили налоги на интернет и... (176)
- Тонкий корпус, батарея на 7000 мАч, IP65 и... (186)
- «Ски-тест» для мобильных: названы операторы... (288)
- В России начали принимать заказы на новый... (277)
- «1 000 000 км легко». Новые батареи CATL... (189)
- Седан с запасом хода более 2000 км получил... (338)
- Представлен лёгкий магниевый электропривод... (320)
- 10 млн долларов за 30-секундную рекламу.... (453)
- Представлена «дышащая» твердотельная... (440)
- Этот полноценный настольный ПК поместится... (330)
- Глава HBO дал понять, что третий сезон... (418)
- Сингапур собрался стать космической державой... (444)
- Microsoft пустила в массы новое меню «Пуск»... (443)
- Запас хода до 1730 км и расход 3,35 литра... (430)
- Apple готовит обновлённый монитор Studio... (299)
- В приложении «Т-Банка» появилась оплата... (347)
Apple получила важный патент
Дата: 2019-04-18 20:11
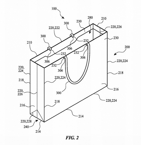
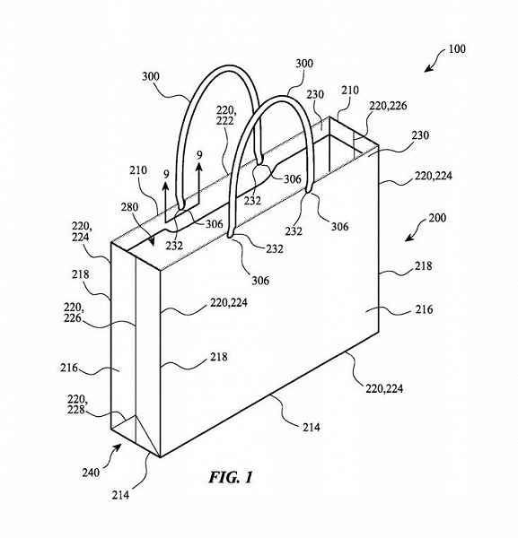
Несколько лет назад мы рассказывали об интересной заявке на патент, поданной Apple в американское патентное бюро. В ней был описан «бумажный пакет… из плотной отбеленной бумаги, не менее чем на 60% изготовленной из вторсырья». По мнению изобретателей, этот пакет можно использовать для покупок в розничной торговле.
История получила продолжение. Ведомство по патентам и товарным знакам США на днях выдало Apple патент №10259616 «Белый бумажный пакет, изготовленный из вторсырья с ручкой из бумажной пряжи круглой вязки».
Конструкция пакета детально изображена на иллюстрациях к заявке, которых насчитывается около десятка. Как видно, «ручки из бумажной пряжи круглой вязки» могут свободно свисать вниз.
КомментироватьПодробнее на iXBT
Предыдущие новости
Российские инженеры разработали магнитный холодильник
Инженеры из России разработали уникальный холодильник, который функционирует не на переходящей в газ жидкости, а на магнитном металле. По словам ученых, их холодильник нового поколения является энергоэффективным на 30-40...
«Связной» из-за сбоя продавал айфоны по 5 тысяч рублей
Из-за сбоя в программном обеспечении цены на айфоны на сайте интернет-магазина «Связного» начали отображаться некорректно. В течение примерно15 минут гаджеты можно было купить по сверхнизкой
Видео дня: «Сбербанк» показал телеведущую «Елену» с искусственным интеллектом
«Сбербанк» продемонстрировал возможности искусственного интеллекта, создав цифрового двойника телеведущей. Виртуальная ведущая с именем «Елена» имитирует речь диктора, эмоции и манеру говорить реального человека. По задумке, разработка может использоваться для новостей на телевидении и электронных коммуникаций, создания обучающего, рекламного и другого видеоконтента. «Елена»...
Свежая MIUI 10 улучшила работу камеры смартфона Redmi Note 7 Pro
Компания Xiaomi начала распространять «по воздуху» новое обновление прошивки для смартфона Redmi Note 7 Pro. Глобальная стабильная прошивка MIUI 10 Global Stable ROM под номером 10.2.8.0.PFHINXM весит 324 МБ. Она приносит улучшения работы основной камеры смартфона, включая повышенную резкость как в режиме 48 Мп, так и 12 Мп, улучшения портретного режима, при съёмке в плохих...