- Независимые тесты выявили сильные и слабые... (641)
- Мальта стала первой страной, граждане... (353)
- Новая статья: Subnautica 2 — хорошо на дне... (574)
- Samsung готовит петабайтные Nearline SSD —... (636)
- Геоинженеры Stardust предложили охладить... (860)
- США заподозрили Arm в антиконкурентном... (741)
- Человекоподобные роботы Figure AI научились... (1035)
- Intel Core i9-14900KF разогнали до 9206,34... (1009)
- Дизайнер Apple рассказал о работе над... (842)
- Microsoft разрешит менять положение панели... (1010)
- Бороться со своими дипфейками на YouTube... (519)
- SpaceX ускорила выход на биржу — IPO на... (520)
- С 1 июня в России впервые за 12 лет вырастут... (1152)
- XBOX, а не Xbox: Microsoft решила писать имя... (593)
- Солнечная энергетика страдает от угольных... (696)
- ZA/UM показала 12 минут геймплея Zero... (779)
Новые часы Apple Watch обзаведутся сканером отпечатков пальцев Touch ID прямо в экране
Дата: 2019-11-10 19:56
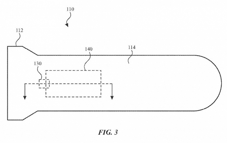
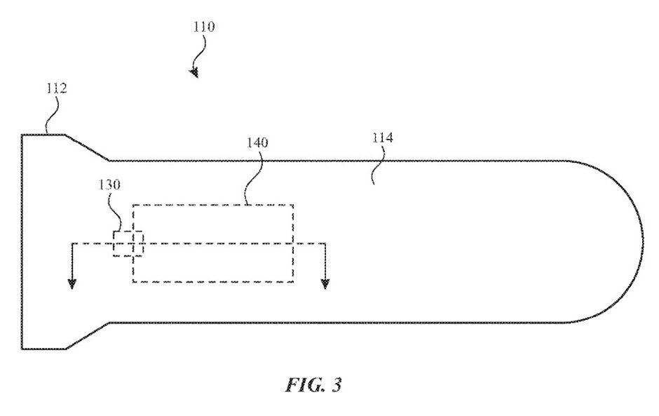
Ведомство по патентам и товарным знакам США выдало компании Apple патент, который описывает размещение различных датчиков под экраном носимого устройства.
Речь именно не о смартфоне, а об умных часах. По задумке, по дисплеем можно разместить датчики прикосновения, силы нажатия, температуры и сканер отпечатков пальцев.
Apple Watch уже можно использовать для совершения платежей с помощью Apple Pay, разблокировки компьютеров Mac, и тому подобных функций. Однако появление сканера отпечатков пальцев Touch ID добавит новый уровень безопасности.
Хотя Touch ID пропал из новых iPhone, он всё ещё используется в самом дешёвом iPad и ноутбуках MacBook Pro. Также уже не первый год ходят слухи о возвращении Touch ID в смартфоны Apple, но на новом уровне — спрятанным под экраном.
КомментироватьПодробнее на iXBT
Предыдущие новости
Роскачество обновило рейтинг лучших смартфонов
Эксперты Роскачества пересмотрели рейтинг смартфонов. Лидером стала новинка от Apple iPhone 11 Pro Max.Как сообщает Ufanotes.ru со ссылкой на ToDay News Ufa, iPhone 11 Pro Max по факту теста набрала 4,327
России предрекли мировое превосходство из-за глобального потепления
Глобальное потепление облегчит доступ к ним. Около десяти лет назад геологи заявили, что 30% мировых запасов природного газа и 13% мировых запасов нефти расположены под ледниками Северного полярного круга. Однако это не единственная возможность, которую открывает глобальное...
В США научились производить водку из воды и воздуха
Авторы сообщают, что использовали те же принципы, что и растения для реакции фотосинтеза, но более эффективно. В США уже продается новая водка из воды и воздуха. Она ничем не отличается от
В России создали «виртуального прораба»
Платформа, получившая название «ПИК.Про», позволяет мастерам-строителям получать задания через мобильное приложение, а подрядчикам — проверять качество работ после их выполнения. По задумке разработчиков, система должна стать для мастеров «виртуальным...