- Комета-невидимка: объект (139359) 2001... (238)
- Samsung Galaxy S26, Galaxy S26 Plus и Galaxy... (311)
- Учёные нашли способ превращения испорченного... (298)
- Обнаружен самый «вёрткий» астероид Солнечной... (346)
- В ближайшее время SSD подорожают ещё больше:... (296)
- Представлен Peugeot 408 нового поколения —... (459)
- Складной iPhone с экраном без складки выйдет... (382)
- Американская атомная батарейка готова:... (405)
- Asus представила игровой ноутбук TUF Gaming... (491)
- M**a забронировала 6,6 ГВт атомных мощностей... (511)
- Иск Илона Маска к OpenAI дошёл до суда... (564)
- Новая статья: Итоги 2025 года:... (426)
- NASA: телескоп Nancy Grace Roman стартует в... (479)
- Батареи CATL показали рекордно низкую... (520)
- Первый запуск года Falcon 9 с 29 спутниками... (455)
- Первый запуск года Falcon 9 с 29 спутниками... (472)
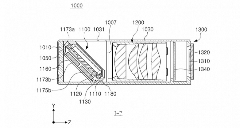
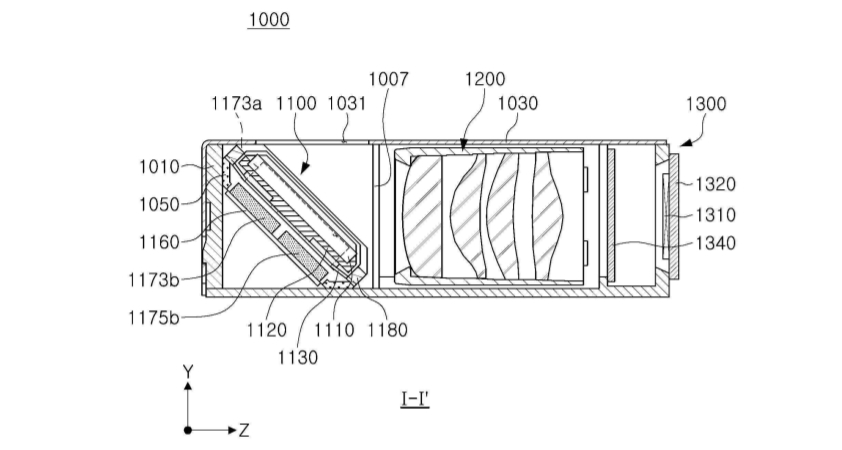
Не только пятикратный оптический зум, но и оптическая стабилизация. Появились подробности о телекамере Samsung Galaxy S11
Дата: 2019-11-22 11:47
Смартфону Samsung Galaxy S11 слухи упорно приписывают наличие перископной камеры с пятикратным оптическим зумом. На данный момент подобные есть только в двух моделях на рынке: Huawei P30 Pro и Oppo Reno 10x zoom.
Новые данные указывают на то, что Galaxy S11 может получить не просто перископную камеру, а камеру с оптической стабилизацией. На это указывает поданный на этой неделе компанией Samsung Electro-Mechanics патент.
Само собой, как всегда, сам по себе патент ещё ничего не означает, но как минимум у нас есть основания для того, чтобы надеяться на появление в грядущем флагмане Samsung именно такой камеры.
КомментироватьПодробнее на iXBT
Предыдущие новости
Программное обеспечение Corsair iCUE стало доступно пользователям macOS
Компания Corsair объявила о выпуске версии программного обеспечения Corsair iCUE для операционной системы macOS. Теперь пользователям компьютеров Apple тоже становятся доступны все настройки мышей, клавиатур, гарнитур и других периферийных устройств Corsair. Единый интерфейс iCUE открывает доступ ко всем устройствам Corsair, подключенным к компьютеру. Клавиатуры и мыши...
Tesla показала электрический квадроцикл
На презентации электрического пикапа Cybertruck компания Tesla продемонстрировала ещё одно транспортное средство с электрическим приводом: им стал квадроцикл, который может быть выпущен на коммерческий рынок под именем Cyberquad. Нужно сразу оговориться, что электрический мотовездеход пока для заказа недоступен. Очевидно, он ещё находится в разработке, а поэтому...
Экран смартфона Xiaomi Redmi K30 сможет работать с частотой обновления 120 Гц
Интернет-источники обнародовали серию «живых» фотографий, на которых, как утверждается, запечатлён один из смартфонов семейства Xiaomi Redmi K30. Аппарат позирует на снимках во включённом состоянии, а на экране отображается окно приложения AIDA64 — утилиты, которая позволяет просматривать информацию об электронных компонентах...
Как принтер способен изменить ваш бизнес
HP LaserJet Pro M428fdn и HP Color LaserJet Pro M479fdw — эти компактные и высокопроизводительные МФУ являются самой настоящей находкой для небольшой компании. Параметры работы устройств можно без труда настраивать, чтобы запускать операции простым нажатием кнопки, высвобождая тем самым время на выполнение других...