- РКН перешёл к полной блокировке YouTube... (392)
- Новая статья: Обзор смартфона vivo X300 Pro:... (126)
- Nothing запустила бета-версию Essential Apps... (341)
- Microsoft спасёт старые ПК от просроченных... (215)
- Инженерный образец невышедшей GeForce RTX... (358)
- Nebius Аркадия Воложа купит за $275 млн... (369)
- Filum представила серию беспроводных... (342)
- Почти полностью готовый ПК из урезанной... (231)
- Тактический роглайк о разведении кошек... (337)
- Расширение рынка ИИ упрётся в одну маленькую... (645)
- Дуров: «Россия ограничивает доступ к... (474)
- Производители памяти в этом году заработают... (500)
- Китайская компания СXMT выделит 20% новых... (277)
- Анонсирована Terrinoth: Heroes of Descent —... (661)
- Intel показала прототип чипа совершенной... (514)
- Cisco представила процессор Silicon One... (551)
Oppo запатентовала смартфон со съемной камерой. Ее можно будет использовать как action-камеру
Дата: 2020-12-06 12:44
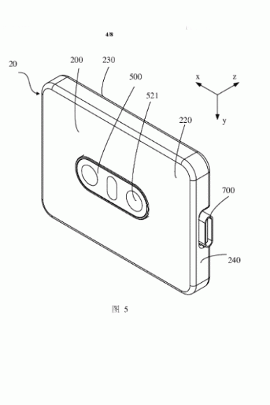
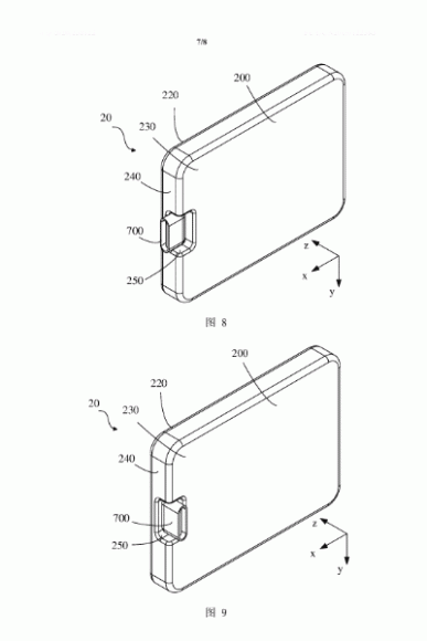
Компания Oppo запатентовала оригинальный смартфон со съемным модулем камеры. Изображения из базы данных Всемирной организации интеллектуальной собственности (WIPO, World Intellectual Property Office) позволяют понять, как это все устроено.
В общем-то, ничего сложного нет: съемный модуль камеры с двумя объективами и двумя матрицами крепится в углублении тыльной панели смартфона. Подключается он через порт USB-C, но для беспроводной передачи фото и видео обеспечивается поддержка интерфейсов NFC, Wi-Fi и Bluetooth самим модулем. Автономность его работы гарантирована встроенной аккумуляторной батареей.
По задумке разработчиков, смартфон может обходится одним блоком камеры, размещенным на тыльной панели. А если пользователю вдруг захочется сделать селфи, то модуль можно достать и направить на себя или на любой другой объект съемки. То есть, по сути, такая камера превращается в некое подобие action-камеры. Причем, учитывая современные тенденции, у смартфонного модуля есть преимущество в виде встроенной стабилизации и оптического зума. Правда, о защищенном исполнении тут говорить уже вряд ли приходится. А еще смартфоны с такими модулями делают возможным аппаратное обновление камеры после покупки. Скажем, вместо модуля с двумя датчиками можно будет установить модуль с тремя.
Естественно, регистрация патента вовсе не гарантирует массовый выпуск такой модели. Но это и не значит, что такой смартфон не имеет шансов на серийное воплощение.
КомментироватьПодробнее на iXBT
Предыдущие новости
Доктор Мясников сравнил разные вакцины от COVID-19
Врач и телеведущий Александр Мясников объяснил разницу между существующими вакцинами от коронавируса нового типа в своем
В Минске начались сбои с доступом в Telegram перед акцией оппозиции
Сбои с доступом в Telegram отмечаются в Минске у клиентов ряда операторов мобильной и фиксированной связи перед акцией оппозиции, передает корреспондент РИА
Могут ли запретить продажи смартфонов Xiaomi в Индии? Philips подала в суд на китайского гиганта за нарушение патентов
Компанию Xiaomi может ожидать второй в её истории крупный запрет продаж в Индии. Как сообщают источники, на Xiaomi в суд подала Philips, требуя в том числе запретить продажи ряда устройств китайского гиганта. Philips утверждает, что Xiaomi нарушила ряд патентов, касающихся HSPA, HSPA+ и LTE. То есть запрет может коснуться смартфонов с поддержкой этих технологий, но неясно,...
Tesla раздаёт полный автопилот для своих электромобилей на тысячу долларов дешевле
Компания Tesla без особых объявлений и предупреждений снизила стоимость обновления Full Self-Driving, которое приносит функцию полного автопилота. На аттракцион неслыханной щедрости обратил внимание тематический ресурс Electrek. Скидка в одну тысячу долларов предлагается только для тех пользователей, которые ранее покупали пакет Enhanced Autopilot. Напомним, в октябре с...