- Samsung внезапно приостановила обновление... (105)
- YouTube объявил войну ИИ-диспфейкам,... (112)
- Redmi K90 уже доступен для заказа в... (109)
- Груз с Небес: жительница Техаса стала... (115)
- Энтузиаст разработал эмулятор классических... (102)
- Nebius запустила первый в Израиле ИИ ЦОД с... (149)
- Умный проектор с автокоррекцией изображения,... (127)
- Вышли обзоры MacBook Pro — Apple M5 сделал... (174)
- Обновлённые протоколы SETI: как научное... (108)
- Революция в мире браузеров? OpenAI... (385)
- Многострадальная Vampire: The Masquerade —... (239)
- Microsoft выпустила экстренный патч для... (400)
- OpenAI представила ИИ-браузер ChatGPT Atlas... (188)
- OpenAI представила дебютный ИИ-браузер... (371)
- Массовые тесты SoC M5 в новом MacBook Pro... (471)
- Новенький Xiaomi 17 Pro Max царапали, грели,... (386)
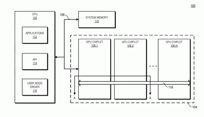
AMD может повторить успех процессоров Ryzen на рынке видеокарт? Компания рассматривает возможность создания многочиповых GPU
Дата: 2021-01-02 20:40
Одна из сильных сторон большинства процессоров AMD семейства Ryzen в их конфигурации. Напомним, это многочиповые CPU, состоящие из нескольких чиплетов. Это позволило AMD создать модели с большим количеством ядер, которые при этом достаточно и дёшево производить.

Мы уже слышали о том, что такой подход к созданию GPU может использовать Nvidia в своём поколении Hopper. Теперь же появилась и аналогичная информация относительно AMD.
Она доступна в виде патента, название которого можно перевести, как “Чиплеты GPU, использующие высокоскоростные соединения”.
Патент описывает один из вариантов, который позволяет избежать недостатков других технологий объединения GPU. В частности, основа идеи AMD — пассивные шины с высокой пропускной способностью. Подразумевает, что в многочиповом графическом процессоре будет главный кристалл, напрямую связанный с CPU, а остальные кристаллы будут соединены с главным посредством тех самых пассивных шин. В итоге весь такой GPU будет похож на однокристальную систему, физически разделённую на разные микросхемы.

Также в патенте указано, что каждый кристалл GPU сохранит кэш-память последнего уровня, но при этом кэш-память каждого кристалла доступна всему итоговому GPU.
Пока неясно, когда мы сможем увидеть первые многочиповые графические процессоры, но, учитывая, во-первых, сложность современных монолитных GPU, а во-вторых, успех многочиповых CPU Ryzen, вероятно, это один из основных вариантов развития данного направления.
КомментироватьПодробнее на iXBT
Предыдущие новости
На Xiaomi Mi 10 Pro пока не стоит ставить MIUI 12.5, зато есть стабильная MIUI 12.2.2.0
Компания Xiaomi отличается от других производителей смартфонов, в частности, тем, что она регулярно выпускает обновления программного обеспечения MIUI для своих телефонов. В данный момент Xiaomi Mi 10 Pro начал получать стабильную прошивку MIUI 12.2.2.0. Пользователи подтверждают, что размер прошивки составляет около 576 МБ. В официальном журнале изменений говорится о том, что...
Власти Пуэрто-Рико поддерживают идею восстановления радиотелескопа «Аресибо»
За три дня до окончания 2020 года уходящая в отставку губернатор Пуэрто-Рико Ванда Васкес Гарсед (Wanda Vázquez Garced) подписала распоряжение о финансировании начальных работ, которые могут стать первым этапом в восстановлении обрушившегося в ноябре радиотелескопа «Аресибо». Тогда 900-тонная платформа с оборудованием рухнула на 305-метровую антенну, пробив в ней дыру....
Флагман Xiaomi значительно уступил флагману Huawei в скорости флеш-памяти
Смартфон Huawei Mate 40 Pro значительно обогнал по скорости чтения и записи флеш-памяти флагманский телефон Xiaomi Mi 11, сообщает 2 января портал Huawei Central. Согласно сообщению, Huawei Mate 40 Pro был выпущен осенью 2020 года и основан на процессоре Huawei Kirin...
Исторический рекорд в Steam: количество игроков впервые превысило 25 млн одновременно
В Новогодние праздники геймеры на игровой платформе Steam установили исторический рекорд. Количество собравшихся онлайн игроков впервые за всю историю Steam превысило 25 миллионов. В декабре завершившегося 2020 года Steam впервые приблизилась к этому рубежу, а теперь успешно преодолела его. Статистика SteamDB показывает, что историческое пиковое количество игроков составляло...