- Производство чипов в наши дни требует... (201)
- Ключ на старт. Последний Starship в этом... (131)
- В России испытали на долговечность... (304)
- Google запустила Nano Banana в AI Mode и... (211)
- Apple завершила поддержку своего бесплатного... (204)
- Xiaomi выпустила эргономичную беспроводную... (306)
- Современный автомобиль с запасом хода 2000... (425)
- Новые китайские санкции повлекут серьёзные... (436)
- Революция стиля и технологий в компактном... (377)
- «Китайский Aurus Komendant» вышел в продажу.... (374)
- Мир гейминга ещё не видел ничего подобного:... (359)
- «Самый мощный Neo в истории». iQOO Neo11... (266)
- 12 450 мАч, экран 3К 165 Гц, Snapdragon 8... (310)
- Кембриджский университет запустил проект по... (347)
- Первый флагман на Snapdragon 8 Elite Gen 5... (338)
- Новая статья: CloverPit — добро пожаловать в... (312)
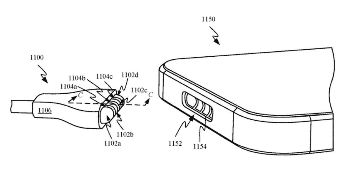
И это замена Lightning в iPhone? Первые изображения нового магнитного разъёма
Дата: 2021-03-04 07:47
Источники неоднократно сообщали о том, что Apple может отказаться от разъёма Lightning в смартфонах iPhone, однако производитель не будет использовать популярный разъём USB-C.
Теперь же стало известно, что Apple запатентовала новый тип разъёма для iPhone. Ведомство по патентам и товарным знакам США (USPTO) опубликовало патент, который описывает трёхконтактное зарядное устройство MagSafe, которое подключается к смартфону не к задней панели, а в месте, где сейчас располагается разъём Lightning.
Кабель и место на корпусе смартфона, куда он будет подсоединяться оснащены магнитами, которые позволяют надежно фиксировать его. При этом на корпусе будет небольшое углубление глубиной несколько миллиметров.

Пока что неизвестно, планирует ли Apple использовать новую магнитную зарядку параллельно с кольцевой магнитной зарядкой MagSafe на задней панели смартфонов.
Аналитик Tianfeng International Минг-Чи Куо (Ming-Chi Kuo) недавно заявил, что интерфейс USB-C не способствует прибыльности проекта Apple MFi-аксессуаров, а водонепроницаемость смартфона с таким разъёмом будет ниже, чем у Lightning. Поэтому, если Apple и откажется от разъёма Lightning в своих смартфонах в будущем, то в пользу магнитной зарядки.
Подробнее на iXBT
Предыдущие новости
Acer исходит из того, что дефицит компонентов сохранится на протяжении всего года
Производители персональных компьютеров в условиях дефицита комплектующих вынуждены постоянно отодвигать прогнозируемые сроки нормализации ситуации. Если HP Inc. и Dell теперь упоминают третий квартал в данном контексте, то Acer не видит перспектив на протяжении всего текущего года. Впрочем, рынок ПК всё равно вырастет по итогам года, как считает этот производитель....
Смартфон Compal CHEESE с гибким дисплеем ориентирован на фотосъёмку
Известный тайваньский производитель электроники Compal показал любопытный смартфон под названием CHEESE: устройство, оборудованное гибким дисплеем, предназначено прежде всего для осуществления фотосъёмки. В базовом режиме использования CHEESE выглядит как стандартный аппарат моноблочного типа. В верхней части дисплея предусмотрен вырез, в котором установлена двойная...
Parler снова подал в суд на Amazon — компания стремится получить компенсацию за «попытку уничтожения её бизнеса»
Соцсеть Parler снова подала иск против Amazon. На этот раз компания обвинила владельца хостинга в попытке уничтожения бизнеса и потребовала возмещения ущерба. Об этом пишет Reuters.
Рынок смартфонов EMEA показал худшие результаты за шесть лет
Статистика, собранная компанией International Data Corporation (IDC), говорит о том, что рынок смартфонов в регионе EMEA (включает Европу, в том числе Россию, Ближний Восток и Африку) в прошлом году сократился и в штуках, и в деньгах. Аналитики отмечают, что из-за пандемии рассматриваемая отрасль показала худший результат за последние шесть лет. Так, поставки умных сотовых...