- Snapdragon 8 Elite, экран 144 Гц, батарея... (54)
- OnePlus показала рентгеновский снимок нового... (74)
- «Фундаментальную проблему с качеством... (82)
- Затраты на строительство ЦОД в США впервые... (129)
- Первые модули Российской орбитальной станции... (122)
- Остались считанные дни: ракету «Союз-2.1а» с... (196)
- Новый «мини-шаттл»: Dassault приступила к... (132)
- Dell выпустила настольный ПК Pro Max GB300,... (450)
- Nvidia выручит до конца следующего года $1... (430)
- Владельцы Galaxy S26 Ultra в США сообщают,... (339)
- «Galaxy навсегда». Samsung представила новую... (446)
- Apple наконец признала устаревшими смартфоны... (296)
- Nvidia представила процессор Groq 3 LPU,... (320)
- Скорость чтения 28 ГБ/с и 192 ГБ памяти на... (323)
- Космический корабль «Прогресс МС-31»... (459)
- Nvidia выбрала Intel, а не AMD. Процессор... (438)
В Canon придумали, как защитить датчик изображения беззеркальной камеры от пыли во время смены объектива
Дата: 2021-07-28 13:52
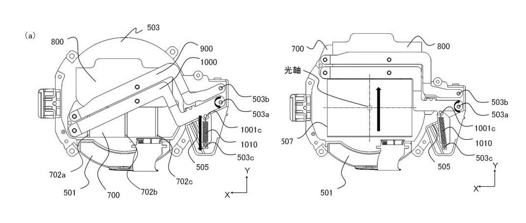
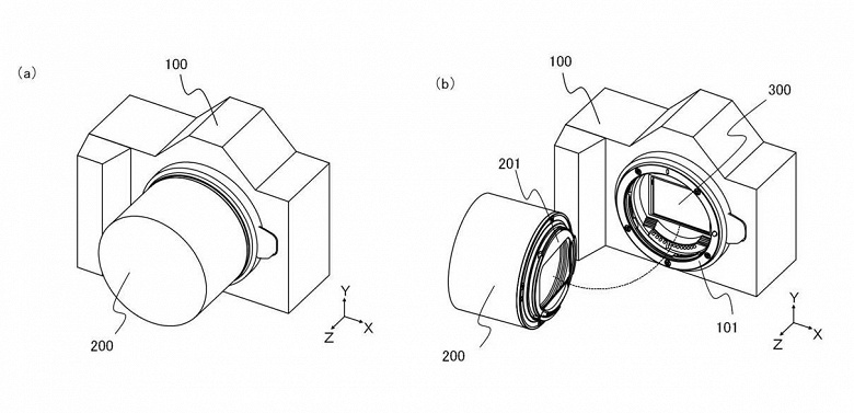
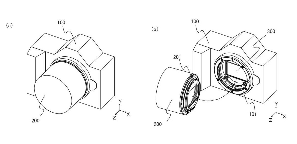
Компания Canon подала в Японии заявку на патент №2019–234718, в которой описан встроенный в камеру механизм, предназначенный для защиты затвора и датчика изображения беззеркальных камер от пыли и другого мусора, когда на камеру не установлен объектив.
Что интересно в этом механизме, так это то, что он полностью пассивен, то есть не содержит электродвигателя или соленоида . Механизм автоматически открывается, когда объектив проворачивается в байонете во время установки, и закрывается при обратном действии. Для этого в его конструкции есть несколько рычагов и пружин.
Изобретатели предлагают размещать механизм за рамкой крепления объектива, между электрическими контактами и датчиком изображения. В заявке не упоминается, из какого материала будут сделаны «шторки».
Конечно, что для защиты датчика может использоваться (и в некоторых камерах уже используется) затвор, но метод, описанный в заявке, имеет несколько преимуществ. Например, в отличие от затвора, защитный механизм работает без питания. К тому же он подойдет для камер, в которых есть только электронный затвор.
К сожалению, как всегда в таких случаях, неизвестно, будет ли описанная в заявке идея когда-либо осуществлена на практике.
Подробнее на iXBT
Предыдущие новости
Как у iPhone 12, но для рынка Android. Realme Flash с магнитной беспроводной зарядкой MagDart покажут 3 августа
Realme Flash — первый смартфон с магнитной беспроводной зарядкой — будет представлен 3 августа. Об этом заявила сама компания Realme. Также она подтвердила и тот факт, что Flash будет оснащён магнитной зарядкой MagDart. Таким образом, 3 августа Realme представит и саму технологию зарядки, и зарядные устройства, которых должно быть два. О смартфоне известно, что он...
AMD заявила, что не намерена сбавлять темпы роста — поставки будут расти каждый квартал, несмотря на дефицит
Руководство AMD на отчётном мероприятии пояснило, что последние пару кварталов ведёт целенаправленную работу по увеличению объёмов выпуска продукции подрядчиками, а потому в минувшей четверти года смогла увеличить объёмы поставок. Тенденция сохранится до конца года, как минимум, что позволяет AMD рассчитывать на увеличение выручки по итогам года на 60 %. Источник...
Новая серия блоков питания и ИБП Qdion DS должна занять доминирующее положение на российском рынке
Торговое представительство FSP Russia & QDION OEM сообщает о начале поставок новых современных блоков питания и ИБП Qdion серии DS. Все модели блоков питания в новой серии выполнены в стильном дизайне чёрного цвета в форм-факторе ATX 12V 2.31 и благодаря уникальным техническим решениям по энергосбережению соответствуют стандарту эффективности 80+ с активным...
Состоялся релиз приключения The Forgotten City, бывшего мода для Skyrim
Студия Modern Storyteller и издательство Dear Villagers объявили о релизе игры The Forgotten City — проекта, который изначально создавался как мод для The Elder Scrolls V: Skyrim. Источник: Modern