- Функции новые — галлюцинации старые:... (219)
- Энтузиаст создал «GeForce RTX 2080 Ti на... (196)
- В Тольятти показали новую Lada Vesta Sport:... (207)
- Mercedes-Benz за миллиард: Хуанг рассказал,... (258)
- Американским TikTok будет руководить «правая... (199)
- Реальный «убийца» iPhone Air? Honor Magic 8... (219)
- Новый iGPU Intel Arc B390 настолько мощный,... (250)
- Apple снова вернётся к чипам Intel, но... (241)
- Опубликованы живые фото Samsung Galaxy A57:... (290)
- Европа начала подготовку к импортозамещению... (694)
- WhatsApp перенял ещё одну функцию Telegram:... (474)
- Бесплатные телевизоры сработали: Telly... (385)
- Российскому искусственному интеллекту... (379)
- Покупатели Ryzen 7 9850X3D могут сэкономить... (452)
- «Двухголовая» видеокарта с 48 ГБ памяти за... (423)
- Пользователь заказал на Amazon GeForce RTX... (543)
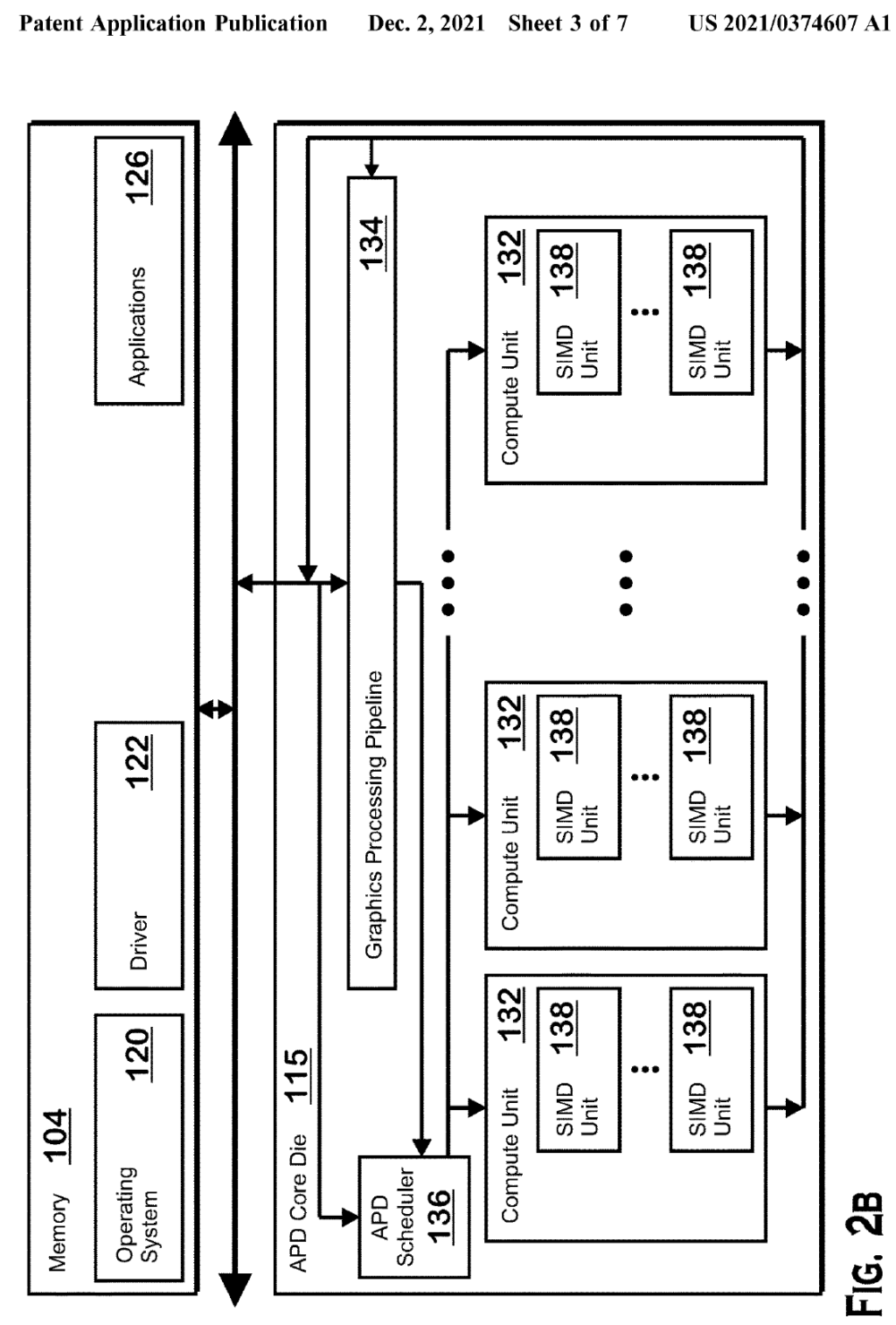
В видеокартах AMD может появиться модуль машинного обучения с собственной памятью. Такое решение описано в свежем патенте
Дата: 2021-12-11 13:59
Компания AMD продолжает работать над развитием технологий, позволяющий делать её чипы сложнее. Мы уже видели анонс первой в мире графической карты (Instinct MI250) на основе двухчипового GPU, а также анонс процессоров Epyc Milan-X с дополнительной кэш-памятью, реализованной посредством технологии 3D V-Cache.
Новый патент AMD описывает модуль Accelerated Processor Die (APD), который интегрирован в GPU. Каким именно образом, пока неясно. Это может быть отдельная надстроенная микросхема, как в случае 3D V-Cache, так и какой-то иной вариант. Но суть в том, что это отдельный кристалл, выполняющий задачи машинного обучения и ускорения памяти. Также он включает межкомпонентные соединения и различные контроллеры. У APD есть собственная память, которая может использоваться как кэш для кристалла ядра APD, так и непосредственно для операций, выполняемых ускорителем машинного обучения.
Модуль APD вполне может стать ответом на ядра Nvidia Tensor. Само собой, пока это лишь патент, так что делать какие-то выводы рано. Такая технология может первоначально найти применение в специализированных ускорителях Instinct, как это произошло с двухчиповым GPU.
Подробнее на iXBT
Предыдущие новости
Акции CD Projekt снизились на 54% с момента релиза игры Cyberpunk 2077
Среди причин падения акций называют низкие продажи Cyberpunk 2077, ведь предполагалось, что проект разойдется в первый год тиражом 30 млн копий, а по факту было продано 17 млн копий, из которых 13,7 млн копий реализовали на старте продаж продукта и по...
В сеть утекли фото графических процессоров видеокарт Intel
Недавно Intel подтвердила, что выпустит свои графические процессоры в первом квартале 2022 года. Топовая модель DG2 с 512 EU с 16 ГБ памяти GDDR6 будет конкурировать с NVIDIA GeForce RTX 3070/Ti в настольной версии и с RTX 3070/3080 в...
iPhone 13 Pro Max в целом намного лучше выдерживает падения, чем Pixel 6 Pro
Авторы канала PhoneBuff провели очередной сравнительный дроптест. В данном случае использовались Pixel 6 Pro и iPhone 13 Pro Max. Как можно видеть, падение с высоты в 1 метр на заднюю поверхность не привело к каким-либо серьёзным последствиям. Аппараты получили лишь небольшие повреждения, обусловленные выступающими модулями камер, и у Pixel 6 Pro эти повреждения несколько...
Со следующего года смартфоны Xiaomi будут работать дольше. Компания нашла способ увеличить емкость аккумулятора смартфона без увеличения его размеров
Компания Xiaomi анонсировала новую разработку, которая касается аккумуляторов мобильных устройств. При нынешних размерах аккумуляторной батареи, ее емкость больше на 10%, а автономность выше примерно на 100 минут работы. В основе разработки – увеличение содержания кремния в 3 раза. Также экономия объема достигается за счет нового расположения управляющей платы: она...