- Свет мой зеркальце, скажи. Realme 16 с... (407)
- «Отделите правду от слухов»: Square Enix... (431)
- Корпус SilverStone Fara 314 формата... (427)
- Теперь вместо Google Chrome все желающие... (525)
- Sony удалила из PS Store более тысячи... (429)
- Власти Нью-Йорка хотят обязать... (499)
- AMD уже несколько лет расширяет кеш L3, а... (539)
- Realme 16 5G получит уникальный для компании... (751)
- Надёжный инсайдер рассказал, когда Ubisoft... (695)
- Nvidia прекратила производство GeForce RTX... (815)
- Nvidia сократила поставки графических... (602)
- Благодаря буму ИИ глобальные доходы... (617)
- CD Projekt Red впервые раскрыла актуальные... (897)
- Капитализация ASML превысила $500 миллиардов... (658)
- Nvidia свернула производство GeForce RTX... (847)
- Snapdragon 8 Gen 5, 200 Мп, IP69,... (689)
AMD уже несколько лет расширяет кеш L3, а теперь может взяться и за L2. Патент компании говорит о том, что она работает над такой технологией
Дата: сегодня 19:22
Компания AMD уже три поколения выпускает процессоры Ryzen X3D с дополнительной кеш-памятью третьего уровня. Новые патенты показывают, что AMD работает над аналогичной технологией для кеша L2.
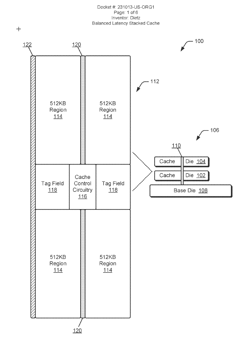
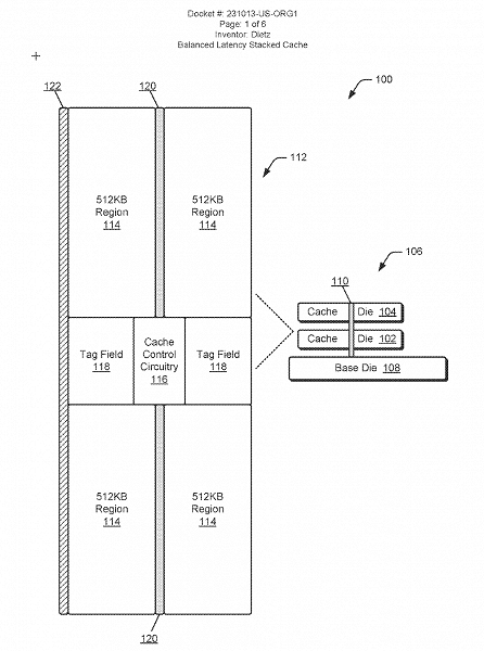
Патент под названием Balanced Latency Stacked Cache описывает методы реализации кеш-памяти с балансной задержкой и стекированием, в котором система стекирования включает первый кристалл кеша и, по меньшей мере, второй кристалл кеша, расположенные в стеке с первым.
Фото WCCF Tech Как и в случае с L3, такое решение позволит расширить объём кеш-памяти L2 посредством микросхем, размещённых сверху или снизу основного кристалла. Стоит помнить, что объём кеш-памяти второго уровня в разы меньше, так что и чип, вероятно, будет очень небольшим. К примеру, у флагманского Ryzen 9 9950X имеется 64 МБ кеш-памяти третьего уровня и только 16 МБ кеша L2. Впрочем, из патента понятно, что AMD рассматривает варианты размещения нескольких чипов памяти для увеличения кеша L2.
Фото USPTO В частности, в одном из примеров используется модуль кеша с четырьмя областями по 512 КБ, что в сумме составляет 2 МБ L2. Этот комплекс может быть расширен по мере необходимости, и на блок-схеме показаны примеры с объемом до 4 МБ.
Как всегда, пока это лишь патент, так что неясно, реализует ли AMD когда-либо такое решение.
Подробнее на iXBT
Предыдущие новости
Надёжный инсайдер рассказал, когда Ubisoft наконец анонсирует окружённый слухами ремейк Assassin’s Creed IV: Black Flag
Окружённый слухами полноценный ремейк пиратского экшена с открытым миром Assassin’s Creed IV: Black Flag от Ubisoft до сих пор официально не анонсирован, но, похоже, наконец готовится к презентации. Источник изображений:...
Nvidia сократила поставки графических процессоров производителям видеокарт на 15–20% — новых моделей GeForce в 2026 году не будет
Инсайдер MEGAsizeGPU сообщил, что Nvidia сократила поставки графических процессоров своим партнёрам на 15–20%. Об этом он написал в социальной сети X. По его словам, компания по-прежнему поставляет GPU в комплекте с видеопамятью. Изображение: Videocardz «Поставки GPU Nvidia для AIC были сокращены на 15–20%. Хорошая новость в том, что Nvidia по-прежнему комплектует GPU...
Nvidia прекратила производство GeForce RTX 5070 Ti — на очереди 16-Гбайт версия GeForce RTX 5060 Ti
По данным YouTube-канала Hardware Unboxed, компания Nvidia прекратила выпуск GeForce RTX 5070 Ti. Об этом в разговоре сообщили представители компании Asus, заявившие, что Nvidia не поставляет графические процессоры для этой модели видеокарты. Источник изображения: YouTube / Hardware...
Nvidia свернула производство GeForce RTX 5070 Ti — Asus это подтвердила
В рамках выставки CES 2026 издание Hardware Unboxed получило подтверждение того, что видеокарта GeForce RTX 5070 Ti, фактически, достигла конца жизненного цикла. По информации представителя Asus, Nvidia прекратила поставки графических процессоров для этой модели, а все видеокарты, которые сейчас присутствуют в продаже, относятся к последним партиям. Asus подтвердила, что...