- Новая статья: Обзор планшета HUAWEI MatePad... (756)
- RuStore: 1,5 млн смартфонов с Android купили... (13)
- Россияне купили почти 3 млн ноутбуков на 169... (14)
- 7000 мАч, 200 Мп и Snapdragon 8 Elite Gen 5... (13)
- Самолёты уклоняются от обломков взорвавшихся... (18)
- Не только аккумулятор на 12 000 мА·ч.... (23)
- «Джеймс Уэбб» раскрыл скрытые слои газа и... (141)
- Первый за много лет iPhone в совершенно... (11)
- Первые за много лет iPhone в совершенно... (257)
- Акции Intel подорожали до четырёхлетнего... (264)
- 69 дней без розетки, аккумулятор на 12 000... (170)
- Теперь только через 200 с лишним лет. Парад... (339)
- Глава OpenAI пытается привлечь $50 млрд в... (170)
- Anthropic представила модифицированную... (358)
- Apple поменяла планы и сделает Siri... (615)
- Австралия запустила тест крупнейшего в мире... (477)
Canon патентует телеконвертор с переменным увеличением, стабилизацией изображения и нейтральным фильтром переменной плотности
Дата: 2020-12-13 12:52
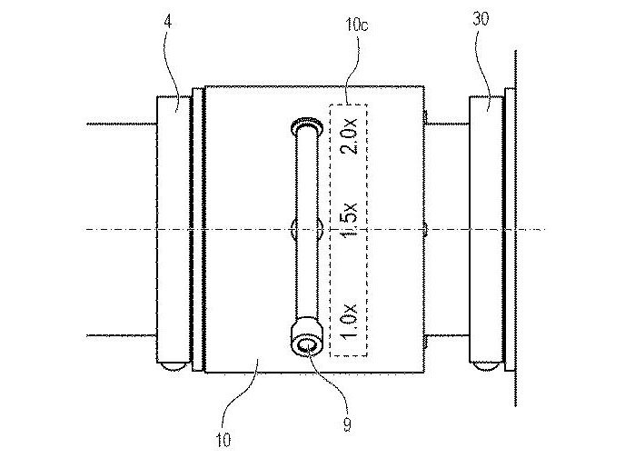
Компания Canon недавно подала в японское патентное ведомство заявку, в которой описана интересная принадлежность для камер со сменными объективами. Это телеконвертор с переменным увеличением (1x-2x), оснащенный оптическим стабилизатором изображения и нейтральным фильтром переменной плотности.
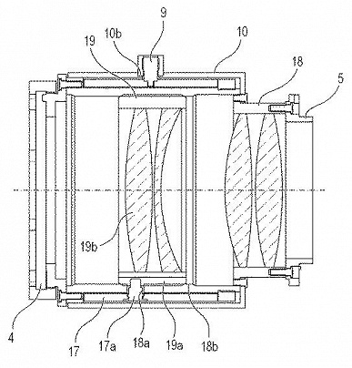
На иллюстрациях к заявке приведена оптическая схема телеконвертора, в которой два из четырех элементов могут перемещаться вдоль оптической оси, что приводит к изменению увеличения. Конструкцией предусмотрена фиксация в положениях, соответствующих увеличению 1x, 1.5x и 2x.
По замыслу Canon, конвертор можно снабдить дисплеем (он обозначен числом 11 на последней иллюстрации), на котором будет отображаться текущее значение увеличения и другая информация о конверторе, камере и объективе.
Что касается совместимых объективов, то одним из уникальных аспектов этого телеконвертора по сравнению с текущими телеконверторами Canon является отсутствие оптических элементов, которые выступают за точки крепления. Если это не условность иллюстраций, то такие объективы, как Canon RF 100–500mm F4.5–7.1 L IS USM, который в настоящее время только частично совместим с телеконверторами Canon RF, теоретически должны будут работать с этим конвертором без ограничений. Впрочем, пока речь идет только о заявке на патент. Будет ли выпущено описанное в ней изделие — пока неизвестно.
КомментироватьПодробнее на iXBT
Предыдущие новости
Сотрудникам CD Projekt RED выплатят бонусы, несмотря на проблемы Cyberpunk 2077 на старте
Директор польской компании CD Projekt RED Адама Бадовски написал письмо свои сотрудникам, в нём он сообщил, что сотрудники компании получат все причитающиеся бонусы и выплаты, даже с учетом не совсем удачного старта игры Cyberpunk...
Роскачество не поддержало популярный миф о вреде смартфона
Как рассказал «Российской газете» старший специалист по тестированию цифровых продуктов Роскачества Сергей Кузьменко, нет однозначных научных доказательств, что использование мобильных телефонов приводит к каким-либо заболеваниям. Поэтому вовсе не вредно оставлять смартфон рядом с кроватью по...
Микроконтроллеры Renesas RA4M3 предназначены для промышленной электроники и устройств интернета вещей
Компания Renesas Electronics на этой неделе расширила серию микроконтроллеров RA4 новой группой 32-разрядных микроконтроллеров, которая получила обозначение RA4M3. В этих микроконтроллерах используется ядро Arm Cortex-M33, работающее на частоте до 100 МГц. По словам Renesas, предлагая лучшую в отрасли производительность, технологии Arm TrustZone и Renesas Secure Crypto Engine,...
Названы эффективные способы защиты смартфона от повреждений
Эксперт в сфере IT-технологий Людмила Мурзина, представляющая портал DGL, перечислила наиболее эффективные способы защиты смартфона от повреждений. Обычно можно обойтись минимумом. В большинстве случаев для защиты мобильного устройства от царапин и ударов достаточно стекла и...